|
<< Click to Display Table of Contents >> 订阅管理复制链接 |
1.订阅管理任务列表
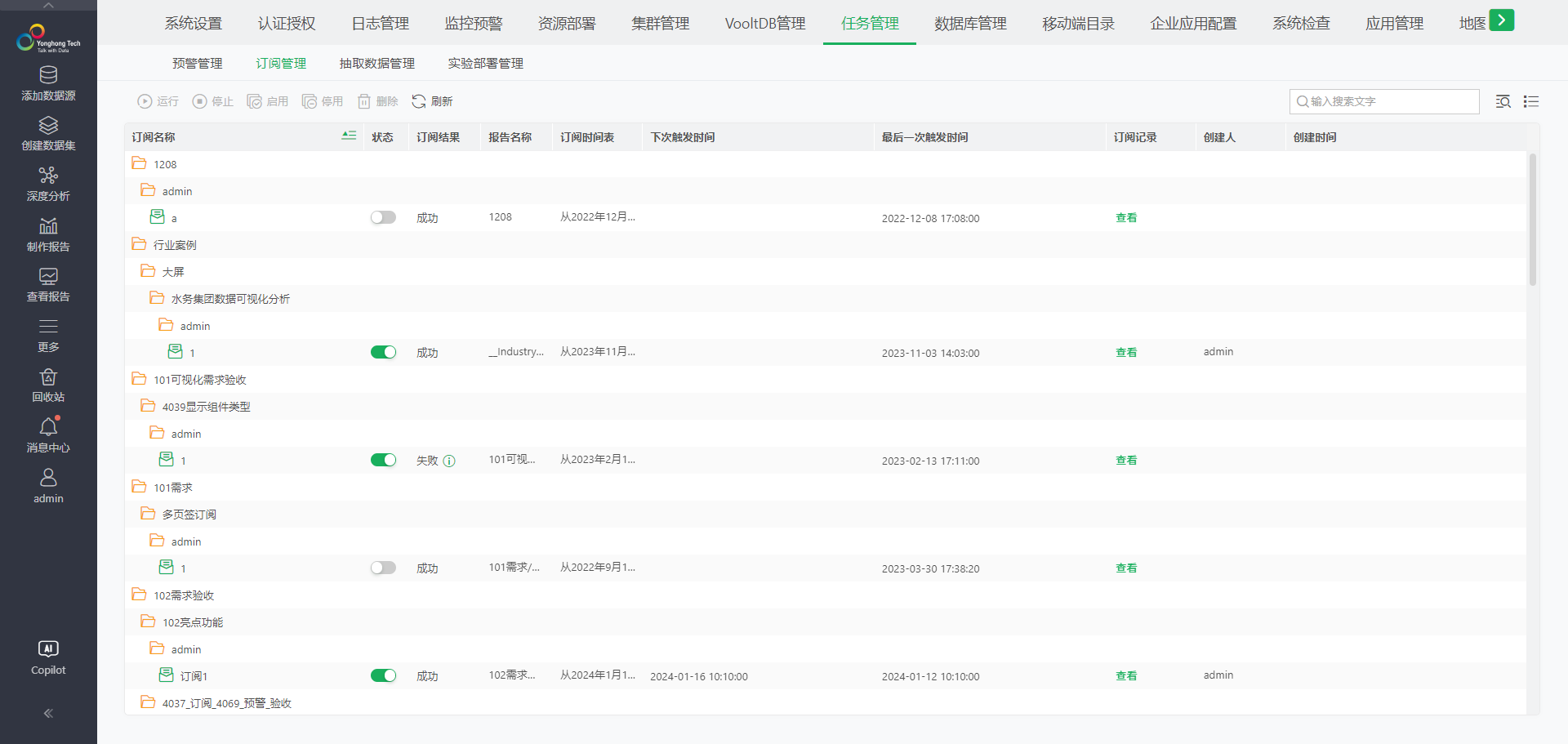
订阅管理对报告的订阅任务进行统一管理。有订阅权限的用户可查看与编辑订阅信息。
•在订阅管理列表中可以查看订阅名称、状态、订阅结果、报告名称、下次触发时间、最后一次触发时间、订阅记录、创建人、创建时间。

【订阅名称】订阅报告的名称。
【一键展开/收起单击】点击订阅名称上的“一键展开”会展开列表中所有文件夹和任务。展开后图标变为“一键收起”,功能为收起列表中所有文件夹和任务。
【状态】订阅报告的状态,可以点击进行关闭、打开。
【订阅结果】最后一次执行订阅的结果。
【报告名称】订阅报告的名称与路径。
【订阅时间表】订阅报告发送的时间。
【下次触发时间】开启订阅任务后,才会显示下次执行该作业的时间。
【最后一次触发时间】最后一次执行该订阅任务的时间。
【订阅记录】点击查看,可以在弹出的对话框中查看每次运行的时间、结果、失败原因。
【创建人】创建订阅的用户
【创建时间】创建订阅的时间。
•支持展平查看订阅任务,点击右上角视图切换为订阅任务列表。

2.订阅管理任务操作
订阅管理任务相关操作,详情请参考任务操作。