用户登录信息监控

<< Click to Display Table of Contents >>

当前位置:  管理系统 > 监控预警 > 系统监控 > 用户信息 

用户登录信息监控

复制链接

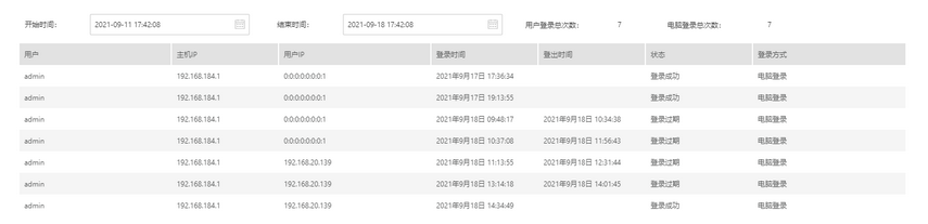
在 “ 用户登录信息监控 ” 中,可通过选择开始和结束时间来查询指定时间内各节点的用户登录详细情况。

默认时间为最近七天,并且以趋势图的形式直观展示。

此报告将整个集群总的用户登录情况进行记录,便于了解任何节点在任何时刻有哪些用户进行了登录,哪些用户登录失效。可以进行追溯,并可直观了解用户登录随时间变化的趋势。

统计表格包括用户、主机IP,用户IP,登录登出时间,状态和登录方式,如下图所示:

systemmanage_userlogin_zoom56

趋势图,如下:

systemmanage_userlogin2_zoom57